Double cylinder double-acting diaphragm pump
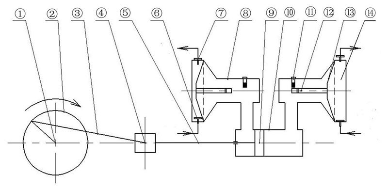
An overview of the working principle and structure 1 How it works The working principle of the diaphragm pump is shown in Figure 3-1, the motor reducer (1) drives the spindle and eccentric wheel (2) to rotate, and through the connecting rod (3), crosshead (4), piston rod (5), the rotational motion is converted into reciprocating linear motion of the piston (9) in the cylinder (10). When the piston (9) moves to the left, the piston (9) drives the hydraulic oil to pull the diaphragm in the right diaphragm chamber (14) to the left direction, and opens the feed valve (6) with the help of slurry feeding pressure, and the diaphragm chamber is filled after sucking in the slurry; When the piston (9) moves to the left to the limit position, the slurry suction process in the right diaphragm chamber (14) also ends. At the same time, the slurry in the left diaphragm chamber (8) is pressed out.
Keywords:
Category:
Diaphragm pumps
Tel:
Double cylinder double-acting diaphragm pump
An overview of the working principle and structure
1. How it works
The working principle of the diaphragm pump is shown in Figure 3-1, the motor reducer (1) drives the spindle and eccentric wheel (2) to rotate, and through the connecting rod (3), crosshead (4), piston rod (5), the rotational motion is converted into reciprocating linear motion of the piston (9) in the cylinder (10).
When the piston (9) moves to the left, the piston (9) drives the hydraulic oil to pull the diaphragm in the right diaphragm chamber (14) to the left direction, and opens the feed valve (6) with the help of slurry feeding pressure, and the diaphragm chamber is filled after sucking in the slurry; When the piston (9) moves to the left to the limit position, the slurry suction process in the right diaphragm chamber (14) also ends. At the same time, the slurry in the left diaphragm chamber (8) is pressed out.
When the piston (9) moves to the right, the piston (9) pushes the diaphragm in the right diaphragm chamber (14) to the right with the help of oil medium, and at the same time the slurry liquid in the right diaphragm chamber (14) is pressurized, the pressure of the cavity rises, the discharge valve (7) is opened, and the slurry is discharged to the pump through the discharge valve (7) (at this time the feed valve (6) is closed) and transported to the pipeline. At the same time, the diaphragm in the left diaphragm chamber (8) moves to the right to suck the slurry in.
Since the slurry does not contact moving parts such as pistons, the abrasion of these parts is avoided, reducing the number of repairs and operating costs. At the same time, by setting up a sensitive and reliable automatic detection system, the long service life of the rubber diaphragm is guaranteed. The above advantages make reciprocating piston diaphragm pumps ideal equipment for slurry pipeline transportation.

(1) Motor reducer (2) spindle and eccentric wheel (3) connecting rod (4) crosshead (5) piston rod (6) feed valve (7) discharge valve
(8) Left diaphragm chamber (9) Piston (10) Oil cylinder (11) Magnetic induction probe (12) Guide rod (13) Rubber diaphragm (14) Right diaphragm chamber
Figure 3-1 Working principle diagram of diaphragm pump
2 Structure overview
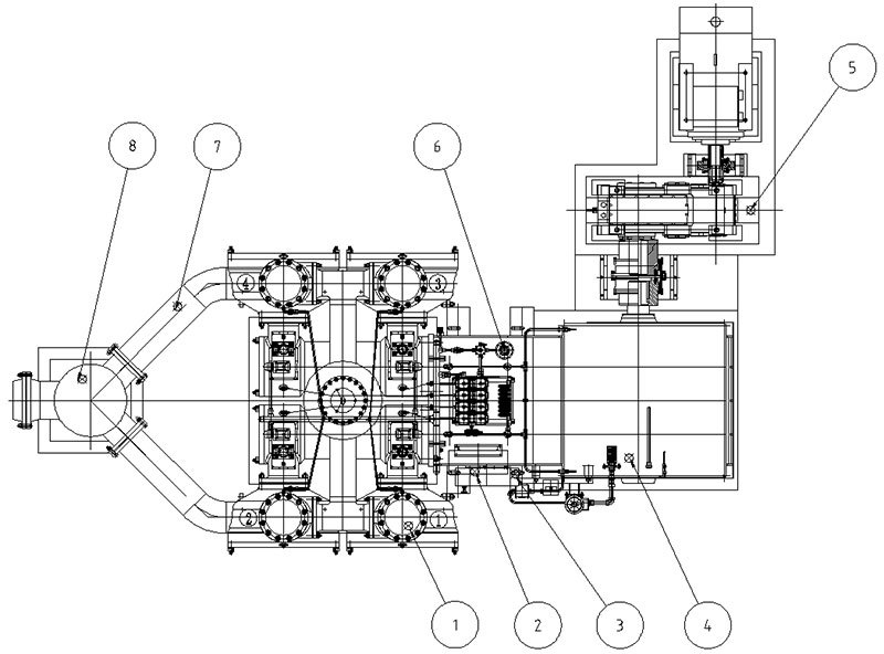
This series of diaphragm pump (Figure 3-2) is composed of hydraulic end (1), electrical control system (2), junction box bracket (3), power end (4), motor reducer part assembly (5), hydraulic control system (6), feed elbow (7), feed flow compensation tank (8) and other parts.

(1) Hydraulic end (2) Electrical control system (3) Junction box bracket (4) Power end (5) Motor reducer part assembly (6) Hydraulic control system (7) Feed elbow (8) Feed flow compensation tank
Figure 3-2 Schematic diagram of diaphragm pump structure
2.1 Liquid end
The hydraulic end (Figure 3-3) completes the conveying of slurry through the movement of piston, piston rod, rubber diaphragm and opening and closing of the inlet and outlet valves, which is mainly composed of feed pipe (1), feed valve box (2), diaphragm chamber (3), discharge valve box (4), nitrogen package (5), discharge pipe (6), oil cylinder (7), discharge pipe bracket (8), valve box bracket (9), base (10) and other parts.

(1) Feeding pipe (2) Feeding valve box (3) Diaphragm chamber (4) Discharge valve box (5) Nitrogen package
(6) Discharge pipe (7) Oil cylinder (8) Discharge pipe bracket (9) Valve box bracket (10) Base
Figure 3-3 Schematic diagram of the structure of the hydraulic end
2.1.1 Feed valve box

(1) Valve seat (2) Valve ball (3) Sleeve (4) Valve box (5) Sealing ring (6) Positioning plate (7) Valve cover
Figure 3-4 Schematic diagram of the structure of the feed valve box
The feed valve box is a feed check valve connected to the elbow. It is mainly composed of valve seat (1), valve ball (2), stop sleeve (3), valve box body (4), high-pressure sealing ring (5), positioning plate (6), valve cover (7), etc.
The valve seat is made of wear-resistant alloy steel and hardened to resist abrasion and impact. The mating surface of the valve seat and the valve box body is a cone surface, which can ensure a tight fit after being installed firmly, and there is no floating phenomenon when subjected to liquid impact. Rubber to be processed by iron valve core sandblasting treatment for vulcanization, bonding, rubber and iron valve core with glue bonding firmly, impact resistance, no layer, through the liquid feeding pressure to open or close the valve ball to achieve the purpose of feeding and discharging. The valve seat can be disassembled hydraulically by means of a pressure joint, which is easy to use. The valve ball is a one-piece structure, which is strong and durable. The sleeve is installed in the valve box to guide the up and down movement of the valve ball. The side of the valve box is designed with a discharge port, which is blocked with an hex screw plug to facilitate the loosening of the discharge slurry during maintenance.
2.1.2 Discharge valve box

(1) Valve seat (2) Valve ball (3) Limit sleeve (4) Rubber pad (5) Valve cover (6) Sealing ring (7) Valve box
Figure 3-5 Schematic diagram of the structure of the discharge valve box
The principle of the discharge valve is the same as that of the feed valve box. The valve box (7) is connected with the diaphragm chamber and is designed with a discharge port, which is used to discharge slurry during maintenance.
2.1.3 Diaphragm chamber

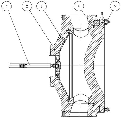
(1) Guide rod (2) Rubber diaphragm (3) Diaphragm cavity (4) Sealing ring (5) Diaphragm chamber cover
Figure 3-6 Schematic diagram of the structure of the diaphragm chamber
The space formed after the combination of the diaphragm cavity and the diaphragm chamber cover is divided into rubber diaphragm travel position space (propulsion fluid flow channel) and slurry flow channel by rubber diaphragm. The slurry flow channel has two openings, the bottom inlet is connected to the feed poppet valve box through the elbow, and the top outlet is connected to the discharge poppet valve box. The rubber diaphragm separates the propellant fluid oil from the slurry, avoiding the mixing of the propellant fluid oil and slurry, so as to ensure that the moving parts in the cylinder work in a clean oil, thereby prolonging the life of the piston and the replacement time of wearing parts. The rubber diaphragm is equipped with a guide rod, and the diaphragm stroke detection device composed of the guide rod and the oil repair and drain signal generator is used to detect the diaphragm stroke position to ensure that the rubber diaphragm works within the optimal working range.
2.1.4 Discharging nitrogen packets

(1) Shell (2) Airbag (3) Gland
Figure 3-7 Schematic diagram of the structure of the discharge nitrogen packet
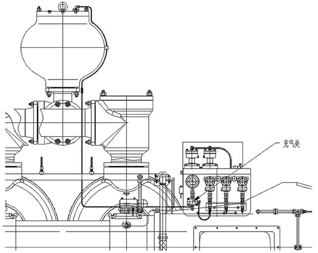
The discharge nitrogen package is mainly composed of shell (1), air bag (2), gland (3), etc., and is installed in the upper part of the discharge part. Before the equipment is tested and run, it can be connected to the seismic pressure gauge and the four-way connection block in the lower part of the meter through the pipeline, and before the equipment is tested and run, the nitrogen cylinder can be connected with the four-way connection block through the inflatable tool, and the discharge nitrogen package can be pre-filled with nitrogen to balance the discharge working pressure, and the inflation pressure value is shown in Section 2.2.5 of this manual.

Figure 3-8 Schematic diagram of the discharge nitrogen-packed gas circuit
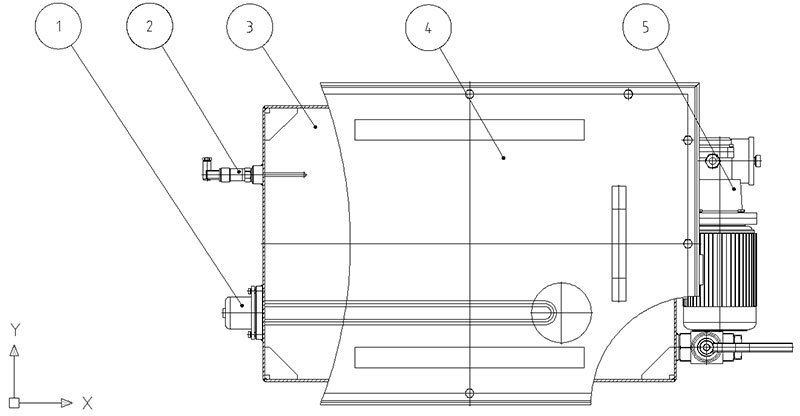
2.1.5 Oil cylinder

(1) Cylinder head (2) Top sleeve (3) Piston (4) Cylinder liner (5) Piston rod (6) Cylinder block (7) Connection flange
(8) Sealing box (9) Piston rod sealing ring gland
Figure 3-9 Schematic diagram of cylinder structure
The cylinder block (6) is a welded part, which is connected with the power end box and diaphragm chamber after processing, and the lower end is firmly closed on the cylinder bracket. The piston (3), piston rod (5) move together with the power end crosshead. The piston (5) assembled on the piston rod (5) and fastened with a double nut moves in a replaceable cylinder liner. The piston rod (5) and cylinder liner (4), the surface is hardened and has high wear resistance, even if the slurry enters the cylinder due to the rupture of the diaphragm, it will not immediately damage the piston rod (5) and cylinder liner (4). The piston seal adopts a supporting multi-skin bowl sealing structure, and its sealing ring is molded with cloth material, which has the characteristics of high strength, good wear resistance and small friction coefficient, and at the same time is also equipped with a lead ring with high wear resistance and good sliding performance on the piston (3), which supports the piston sliding in the cylinder liner, which can improve the service life of the piston (3) and the cylinder liner (4). The cylinder liner (4) can be fixed by pressing the top sleeve (2) with the cylinder head (1) so that it cannot slide or turn. The sealing device of the cylinder sealing box (8) can seal the propulsion fluid oil in the cylinder to ensure the accuracy of the oil replenishment and discharge signals.
2.2 Power end

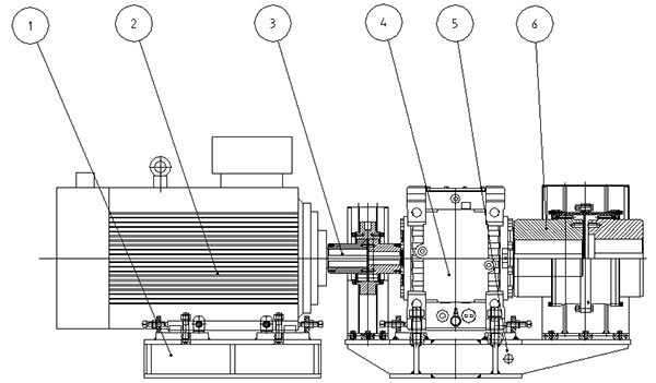
(1) Box (2) Crosshead (3) Connecting rod (4) Eccentric wheel and spindle (5) Box cover
Figure 3-10 Schematic diagram of the power end structure
The power end box (1) adopts a welded structure, and the stress relief treatment is carried out after welding, and the CNC equipment and special tooling fixtures are used for processing, which ensures good geometric accuracy and dimensional accuracy. The spindle (4) is supported by two double-row cylindrical spherical roller bearings on both sides of the box, and the vertical positioning of the connecting rod (3) and the shaft is completed by self-adjustment; The eccentricity of the two eccentric wheels is seen from the axial direction at a 90-degree phase angle, and a connecting rod is installed on each eccentric wheel (3); The large end of the connecting rod (3) is mounted on the eccentric wheel (4) by a cylindrical roller bearing, and the small end of the connecting rod (3) is connected to the crosshead (2) by a pin shaft and supported by two single row cylindrical roller bearings. The eccentric wheel and the spindle (4), connecting rod (3), crosshead (2) and bearings and other parts form two rows of crank connecting rod mechanism, each row is connected to the piston through the piston rod, corresponding to a double-acting cylinder at the hydraulic end.
When working, the main motor is transmitted to the power end spindle and eccentric wheel after decelerating and increasing the torque through the reducer, and the spindle drives the eccentric wheel to rotate, so that the connecting rod (3) swings according to the eccentric fixed angle to drive the crosshead (2) and the piston rod to reciprocate linear motion. The cross head (2) slides back and forth in the upper and lower guide plates, and there is sufficient cooling lubricant to ensure its good work; The bearings of each part have circulating cooling lubricating oil fluid, which ensures the performance of the bearing; On both sides of the power end box (1), there are piston rods, crossheads and guide plate installation inspection holes for easy inspection and maintenance.
2.3 Hydraulic Control System
The hydraulic control system is mainly composed of control instrument and inflation system, propulsion fluid system, lubrication and flushing system, overpressure protection and exhaust system, etc., through the normal operation of each system, to ensure the normal operation of the equipment.
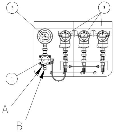
2.3.1 Control instrument and inflation system

(1) Four-way connection block (2) Seismic pressure gauge (3) Pressure transmitter diagram
3-11 Schematic diagram of control instrument and inflation system
A is connected to the discharge nitrogen package, B is connected to the inflating tool, and the pressure transmitter (3) is connected to the relevant components through the pressure measuring line to feedback the working pressure value. The operator can also view the working pressure of the diaphragm pump directly on the seismic pressure gauge (2).
When the slurry discharge pressure of the diaphragm pump reaches the maximum working pressure and rises to the preset alarm pressure point of 1.3MPa, an alarm signal is issued; when the pre-set shutdown pressure point is reached 1.5MPa, the main motor signal is issued.
When the minimum pressure of the propellant fluid is lower than 0.7MPa, the propellant fluid pump is turned on, and the propellant fluid pump is turned off when the maximum pressure reaches 1.2MPa to ensure that the propellant fluid system can be replenished at any time.
The air pressure in the air supply system should be greater than 0.45MPa. When the air pressure in the air supply system is lower than 0.45MPa, an alarm signal is issued; when the air pressure in the air supply system is lower than 0.4MPa, the main motor shutdown signal will be issued.
When inflating, the inflatable tool can be connected to the needle throttle valve to supplement the upper part of the air bag in the nitrogen bag with nitrogen to balance the working pressure.
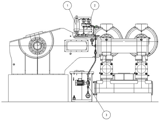
2.3.2 Lubrication and flushing systems
The lubrication and flushing system (Figure 3-12) is composed of oil pump motor unit (1), filter (2), two-position three-way electromagnetic directional valve (3), seismic pressure gauge (4) and oil pipeline.

(1) Oil pump motor unit (2) Filter (3) Pressure gauge device
Figure 3-12 Schematic diagram of lubrication and flushing system
The lubrication system provides forced lubrication between the main shaft bearing, the pin bearing at the crosshead, the crosshead and the guide plate moving pair, and the pressure gauge on the line is used to display the oil pressure.
The flushing system uses the oil pump motor unit to suck out the hydraulic oil in the oil tank (power end box), continuously flush the piston rod, play a lubrication and cooling role, and ensure the good movement of the piston rod at the seal of the piston rod shaft.
2.3.3 Overpressure protection and exhaust system

(1) Check valve (2) Manual globe valve (3) Relief valve (safety valve)
Figure 3-13 Schematic diagram of overpressure protection and exhaust system
The working principle of overpressure protection is: when the slurry discharge pressure of the diaphragm pump reaches or exceeds the maximum working pressure, the main motor will be powered off, because the motor will not stop running immediately under the action of inertia force, and the working pressure will continue to rise; Or when the working pressure switch fails and the discharge pressure continues to rise, if the discharge pressure exceeds the set value of the relief valve (3) (the opening pressure of the relief valve is set to 1.8MPa), the relief valve (3) will automatically open and discharge the propulsion fluid through the return pipe and the relief valve (3) to the power end tank for pressure relief. Therefore, the diaphragm pump and system can be protected from damage due to excessive pressure, thus providing a comprehensive protection function.
The exhaust working principle is: the manual globe valve (2) and the check valve (1) are installed in the upper part of the diaphragm cavity, and its function is to discharge the gas contained in the propulsion fluid oil back into the oil tank through the return pipe by adjusting the manual shut-off valve (2), so as to avoid noise generated by the gas in the diaphragm chamber, and also ensure that the diaphragm is not damaged by gas expansion. Check valves (1) are used to prevent gas backflow.
Note: Before each restart of the diaphragm pump, the shut-off valve should be opened for exhaust treatment to ensure good operation of the equipment.
2.3.4 Propellant fluid system

(1) Accumulator (2) Two-position two-way valve and solenoid valve (3) Oil pump motor unit and filter
Figure 3-14 Schematic diagram of the propellant fluid system
The oil pump motor (3) of the propulsion fluid system sucks oil in a separately installed hydraulic pump station, and feeds the hydraulic oil through the oil circuit into the two-position two-way valve group (2) and the accumulator (1). When the pump is working, start the oil pump motor unit (3) when the pressure of the oil in the accumulator (3) is lower than 0.7MPa; stop the oil pump motor unit (3) when the pressure reaches 1.2MPa. Thus, a certain amount of oil is guaranteed in the accumulator (1) at any time to the diaphragm chamber. The role of the two-position valve group (2) is to control the entry or discharge of hydraulic oil into or out of the diaphragm chamber.
When the equipment is running, the volume of propellant fluid between the piston and the diaphragm should be kept within the limit value, but the volume of the propellant fluid changes due to the wear of the piston sealing ring caused by the long-term transposition of the piston, and the slight consumption of each seal between the cylinder and the diaphragm chamber. The propellant fluid is reduced, which can cause the diaphragm to hit the back wall of the diaphragm cavity and be damaged; Excessive volume of propellant fluid will cause the diaphragm to swell and damage it due to overstress.
When the amount of oil in the diaphragm chamber is abnormal, the guide rod magnetic ring moving with the diaphragm reciprocating movement to the position of the signal generator, after the signal generator detects the magnetic field line, it will send an oil replenishment or oil discharge signal to the electronic control system PLC, PLC directs the two-bit three-way solenoid valve action, cut off the compressed air to make the two-way valve channel conduction, so that the amount of oil in the diaphragm chamber can be supplemented or excreted, so as to ensure that the volume of propulsion fluid between the piston and the diaphragm is kept within the limit value. After adjusting the amount of propulsion fluid oil, the rubber diaphragm is always in the optimal working range to ensure that the work of conveying slurry can be carried out normally.

A oil drain valve B oil replenishment valve
(1) Check valve (2) Valve push rod (3) Small diaphragm (4) Valve spring (5) Sealing block (6) Nozzle
Figure 3-14 Schematic diagram of the structure of a two-position two-way valve
The two-position two-way valve (Figure 3-14) consists of an oil drain valve A and an oil replenishment valve B. The normal state is that the solenoid valve is in an open circuit state, the gas enters the valve, compresses the small diaphragm (3), and closes the valve push rod (2) and nozzle (6). When it is necessary to replenish oil, the oil replenishment solenoid valve is closed, the gas is discharged, the sealing block (5) in the oil replenishment valve B rises under the action of spring force, the nozzle mouth is opened after the oil passes through the nozzle (6) and the check valve (1) in the diaphragm suction stroke into the diaphragm cavity, when the diaphragm discharge stroke, because the pressure in the cylinder is greater than the oil pressure of the oil replenishment line of the propulsion fluid system, the propellant fluid cannot enter the cylinder, but due to the action of the check valve (1), the oil cannot overflow from the valve cavity of the oil replenishment valve B. When the oil discharge action is required, the oil discharge solenoid valve is closed, the air path is cut off, the sealing block in the oil discharge valve A rises under the action of spring force, and the oil is discharged through the nozzle (6) in the diaphragm discharge stroke.
2.3.5 Hydraulic pump station​​​​​​​

(1) Heater (2) Platinum thermal resistance (3) Box (4) Box cover (5) Oil pump motor and filter
3-15 schematic diagram of hydraulic pump station
The hydraulic tank mainly provides hydraulic oil for the propulsion fluid system. In order to ensure the cleanliness of the tank, the tank should be cleaned regularly. Clean the tank every three months to six months for initial use, and every other year thereafter.
2.4 Motor reducer part assembly

(1) Motor base (2) Main motor (3) Elastic column pin tooth coupling
(4) Reducer (5) Reducer base (6) Drum tooth coupling
Figure 3-16 Schematic diagram of motor reducer assembly
The main motor (2) and the reducer (4) are mounted on the motor base (1) of the welded structure. The mounting surface of the motor base (1) and the reducer base (5) is machined to ensure the concentric alignment of the main motor (2) and the reducer (4), the elastic column pin tooth coupling (3) and the drum tooth coupling (6). The main motor (2) shaft and the input shaft of the reducer (4) are connected by an elastic column pin tooth coupling (3), and the output shaft of the reducer (4) and the active shaft of the power end are connected by a drum tooth coupling (6) to input power into the power end. The elastic column pin tooth coupling (3) and drum tooth coupling (6) are equipped with safety guards to ensure safety when approached by users.
2.5 Electronic control system
The control items of the electronic control system are: rubber diaphragm working position control, maximum working pressure control, propulsion liquid air pressure control, propulsion liquid oil pressure control; Propulsion liquid oil pump motor, flushing oil pump motor, lubricating oil pump motor, main motor, etc. The above control items are realized by PLC, and the interlocking function between each control system is completed.
(1) Conditions (logic and conditions) that must be met at the same time to start the main motor
(1) The propulsion liquid oil pump motor unit is operating normally;
(2) The lubrication and flushing oil pump motor unit is operating normally;
(3) Propulsion fluid air pressure> 0.45MPa;
(4) Working pressure≤ 1.2MPa;
(5) The service knob is reset.
(2) Main motor shutdown control conditions (if one condition is met, it will stop, and it can also be adjusted according to the user's process requirements)
(1) The operation failure of the propulsion liquid oil pump motor unit;
(2) 15 consecutive times of replenishment and drainage;
(3) Propulsion fluid air pressure≤ 0.4MPa;
(4) Working pressure≥ 1.5Mpa;
(3) Alarm non-stop control conditions
(1) 10 consecutive times of replenishment and drainage;
(2) Working pressure≥ 1.3MPa;
(3) Propulsion fluid air pressure≤ 0.45MPa;
The diaphragm position control system consists of a detection unit, a control unit, and an execution unit. Detection unit: the guide rod is driven by the diaphragm to move back and forth and interacts with the oil replenishment signal generator to convert the guide rod position signal into a switching electrical signal and transmit it to the control unit PLC; The execution unit is a two-position three-way electromagnetic directional valve and a two-way valve group in the diaphragm stroke control system, and the PLC issues instructions to the execution unit to control the amount of oil in the diaphragm chamber through oil replenishment and discharge to achieve the position of the limited diaphragm; And through the replenishment and drainage signals, whether the diaphragm is damaged.
Related Products


